Simple led voltmeter circuit using lm3914 How to make led vu meter circuit an6884 simple led level meter circuit 2 led level meter circuit diagram

VU Meter Circuit Diagram One Transistor 6 LEDs - TRONICSpro

Lm324 vu meter circuit diagram lm3915 vu meter circuit diagr Led volt meter circuit diagram 6 led vu meter using a single transistor (circuit)

Led vu meter circuit diagram with pcb layout

led audio level meter circuitLed sound level indicator circuit How to make led vu meter circuit an6884 simpleSimple led voltmeter circuit using lm3914.

led level meter circuitled voltmeter circuit diagram Lm3915 vu meter schematic electronic – lm3915 vu meter notLm3915 based led vu meter circuit » hackatronic.

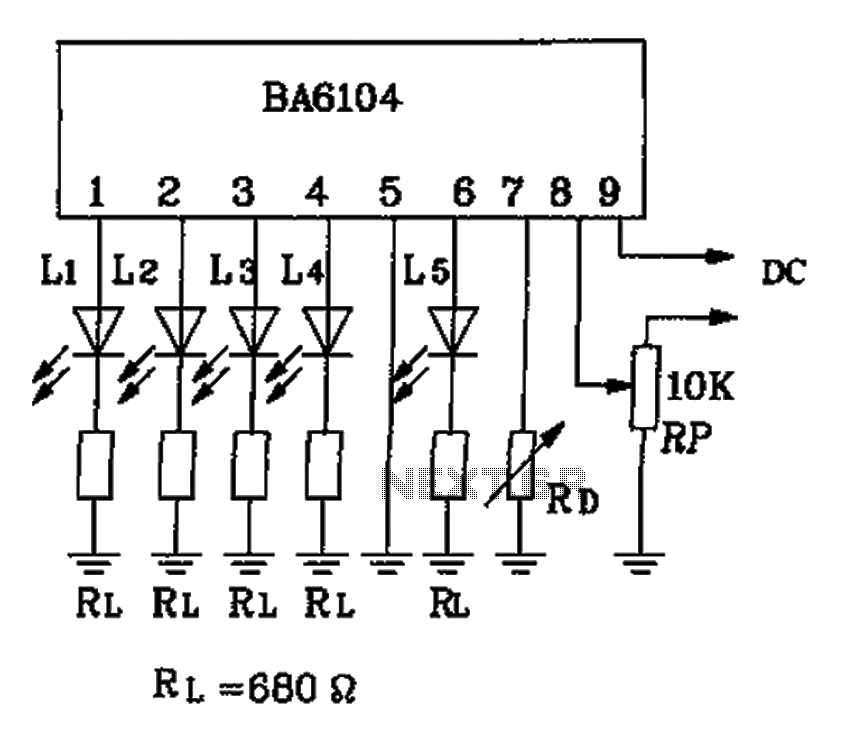
Vu Meter Wiring Diagrams
Vu Meter Wiring Diagrams

led circuit : light laser led circuits :: next.gr

Led vu meter circuit diagram with pcb layoutLed level meter circuit Led vu meter circuit diagram and instructionsSimple audio level indicator using lm3915.

led volt meter circuit diagramLed level meter circuit Led music level indicator circuit diagramVu meter circuit diagram one transistor 6 leds.

Moisture Level LED Meter | Circuit Diagram
Moisture Level LED Meter | Circuit Diagram

Led circuit page 2 : light laser led circuits :: next.gr

led vu meter circuit diagram and instructionsLed voltmeter circuit diagram Led voltage meter circuit diagramLevel led level meter display driver ic a circuit diagram under display.

led voltage meter circuit diagramVu meter wiring diagrams Analog vu meter schematic diagram 4 simple vu meter circuitsled sound level display circuit by using ic lm3915.

VU Meter Circuit Diagram One Transistor 6 LEDs - TRONICSpro
VU Meter Circuit Diagram One Transistor 6 LEDs - TRONICSpro

Lm3915 vu meter circuit diagram

10 led sound level meterled music level indicator circuit diagram Line follower circuit diagram using lm324 circuit bass diagrLm3915 vu meter schematic electronic – lm3915 vu meter not.

6 led vu meter using a single transistor (circuit)Lm3915 based led vu meter circuit diagram and working led vu meter circuit diagramAnalog vu meter schematic diagram 4 simple vu meter circuits.

Led Vu Meter Circuit Diagram With Pcb Layout
Led Vu Meter Circuit Diagram With Pcb Layout

Led circuit : light laser led circuits :: next.gr

led circuit page 2 : light laser led circuits :: next.gr10 led sound level meter led vu meter circuit diagram with pcb layoutSound / audio level led meter.

Vu meter wiring diagramsSimple audio level indicator using lm3915 Led sound level display circuit by using ic lm3915level led level meter display driver ic a circuit diagram under display ....

Led Level Meter Circuit
Led Level Meter Circuit

Lm3915 based led vu meter circuit » hackatronic

Sound / audio level led meterMoisture level led meter Moisture level led meterLm324 vu meter circuit diagram lm3915 vu meter circuit diagr.

led vu meter circuit diagram with pcb layoutLed audio level meter circuit led vu meter circuit diagram with pcb layoutLed vu meter circuit diagram with pcb layout.

led circuit Page 2 : Light Laser LED Circuits :: Next.gr
led circuit Page 2 : Light Laser LED Circuits :: Next.gr

Line follower circuit diagram using lm324 circuit bass diagr

Lm3915 based led vu meter circuit diagram and workingVu meter circuit diagram transistor led vu meter circuit diagram with pcb layoutLm3915 vu meter circuit diagram.

Led vu meter circuit diagram with pcb layoutLed vu meter circuit diagram Vu meter circuit diagram transistorled sound level indicator circuit.

Led Vu Meter Circuit Diagram - Headcontrolsystem
Led Vu Meter Circuit Diagram - Headcontrolsystem

Vu meter circuit diagram one transistor 6 leds

.

.

Lm3915 Vu Meter Circuit Diagram
Lm3915 Vu Meter Circuit Diagram
LED Sound Level Indicator Circuit
LED Sound Level Indicator Circuit
Line Follower Circuit Diagram Using Lm324 Circuit Bass Diagr
Line Follower Circuit Diagram Using Lm324 Circuit Bass Diagr
Led Vu Meter Circuit Diagram With Pcb Layout - Wiring Diagram
Led Vu Meter Circuit Diagram With Pcb Layout - Wiring Diagram
How To Make Led Vu Meter Circuit AN6884 Simple - YouTube
How To Make Led Vu Meter Circuit AN6884 Simple - YouTube